ボルト・ナットの緩み止めと脱落防止に
『LOCK ONE® ロックワン』
※LOCK ONEは、サンコー株式会社の登録商標です。
Products
商品情報
※LOCK ONEは、サンコー株式会社の登録商標です。

※1 NAS3350(National Aerospace Standard 米国宇宙航空規格)
"LOCK ONE"は、自動車・造船・重機・建設機械・OA・精密機械などで幅広く採用が決定されています。
LOCK ONEは、NAS3350※1規格に準拠した衝撃型振動試験機による30,000回の振動試験をクリアしました。
振動試験の詳細を見る閉じる
| 試験対象材 | 概要 | 写真 |
|---|---|---|
| シングルナット (緩み防止対策なし) |
一般的に使用されているJIS規格品ナット | ![]() |
| シングルナット +LOCK ONE |
シングルナットと組合せ使用し、ボルトねじの余長部分にナットに接する形で "LOCK ONE" を取付けてナットの緩み・脱落を防止 | ![]() |
| 試験項目 | 試験の 種別 |
概要 | |
|---|---|---|---|
| 1 | 推奨トルク締付時の緩み脱落防止性能 | 振動試験 | 推奨トルクで締付けた時の性能を振動試験により比較。 |
| 2 | 軸力低下想定時の緩み脱落防止性能 | 振動試験 | 作業条件や部材の状態等の為にメーカー推奨トルクが充分に導入できない場合や亜鉛めっきの経年変化による減肉などにより軸力の低下が生じた様な場合を想定して、各々メーカー推奨トルクの50%のトルクで締付けた時の性能を振動試験により比較。 |
| 3 | 再使用を想定した時の緩み防止脱落防止性能 | 振動試験 | 部材の取外しや調整作業のため、一端締付けたナットを緩めて再度締付けを行うような場合を想定して、性能を振動試験3回繰り返すことにより比較。 |
| 試験項目 | 試験種別 | 強度区分 /呼び |
試験体 | 試験数 | 締付トルク | |
|---|---|---|---|---|---|---|
| 1 | 推奨トルク締付時の緩み脱落防止性能 | 振動試験 | 4.8/M16 | シングルナット | 2体 | 150N·m※1 |
| シングルナット +LOCK ONE |
2体 | 150N·m※1 | ||||
| 2 | 軸力低下想定時の緩み脱落防止性能 | 振動試験 | 4.8/M16 | シングルナット | 2体 | 75N·m (150×50%) |
| シングルナット +LOCK ONE |
2体 | 75N·m (150×50%) |
||||
| 3 | 再使用想定時の緩み脱落防止性能 | 振動試験 | 4.8/M16 | シングルナット | 2体 | 150N·m※2 |
| シングルナット +LOCK ONE |
2体 | 150N·m※2 |
試験前
試験後
図1:試験機冶具への試験体取付状況
| 項目 | 内容 | 備考 |
|---|---|---|
| 加振方向 | ボルト軸に対して直角方向 | |
| 振動数 | 1,750回/分 | |
| 振動加速度 | 実測 15G | 加速度計により実測 |
| 振動ストローク | 11mm | NAS3350に準拠 |
| 衝撃ストローク | 19mm | NAS3350に準拠 |
| 試験体取付け数 | 2体 | 上記図1参照 |
| 振動回数 | 上限 30,000回 |


振動ストローク確認状況


振動周波数確認状況
試験体に示す締付トルクで試験冶具に取り付けた後、試験条件に基づいた振動試験を行いナットが脱落したときの振動回数をデジタルカウンターで計測。
脱落しない場合は、30,000回を上限として試験を終了する。
試験前
シングルナットのみ
シングルナット+LOCK ONE
試験後
シングルナットのみ
シングルナット+LOCK ONE
デジタルカウンター
シングルナットのみ
シングルナット+LOCK ONE
| 試験体 | 締付 トルク |
試験体№ | ナット脱落時 振動回数(回) |
備考 |
|---|---|---|---|---|
| シングルナット | 150N·m | №1 | 4,077 | ナット脱落 |
| №2 | 9,200 | ナット脱落 | ||
| 平均 | 6,639 | ナット脱落 | ||
| シングルナット +LOCK ONE |
150N·m | №1 | 脱落無 | 上限 30,000回迄緩み脱落なし |
| №2 | 脱落無 | 上限 30,000回迄緩み脱落なし | ||
| 平均 | 脱落無 | 上限 30,000回迄緩み脱落なし |
試験前
シングルナットのみ
シングルナット+LOCK ONE
試験後
シングルナットのみ
シングルナット+LOCK ONE
デジタルカウンター
シングルナットのみ
シングルナット+LOCK ONE
| 試験体 | 締付 トルク |
試験体№ | ナット脱落時 振動回数(回) |
備考 |
|---|---|---|---|---|
| シングルナット | 75N·m | №1 | 411 | ナット脱落 |
| №2 | 594 | ナット脱落 | ||
| 平均 | 503 | ナット脱落 | ||
| シングルナット +LOCK ONE |
75N·m | №1 | 脱落無 | 上限 30,000回迄緩み脱落なし |
| №2 | 脱落無 | 上限 30,000回迄緩み脱落なし | ||
| 平均 | 脱落無 | 上限 30,000回迄緩み脱落なし |
試験前
シングルナットのみ
シングルナット+LOCK ONE
試験後
シングルナットのみ
シングルナット+LOCK ONE
デジタルカウンター
シングルナットのみ
シングルナット+LOCK ONE
| 試験体 | 締付 トルク |
試験体№ | ナット脱落時 振動回数(回) |
備考 |
|---|---|---|---|---|
| シングルナット | 150N·m | №1 | 1,172 | ナット脱落 |
| №2 | 1,333 | ナット脱落 | ||
| 平均 | 1,253 | ナット脱落 | ||
| シングルナット +LOCK ONE |
150N·m | №1 | 脱落無 | 上限 30,000回迄緩み脱落なし |
| №2 | 脱落無 | 上限 30,000回迄緩み脱落なし | ||
| 平均 | 脱落無 | 上限 30,000回迄緩み脱落なし |
試験前
シングルナットのみ
シングルナット+LOCK ONE
試験後
シングルナットのみ
シングルナット+LOCK ONE
デジタルカウンター
シングルナットのみ
シングルナット+LOCK ONE
| 試験体 | 締付 トルク |
試験体№ | ナット脱落時 振動回数(回) |
備考 |
|---|---|---|---|---|
| シングルナット | 150N·m | №1 | 922 | ナット脱落 |
| №2 | 1,100 | ナット脱落 | ||
| 平均 | 1,011 | ナット脱落 | ||
| シングルナット +LOCK ONE |
150N·m | №1 | 脱落無 | 上限 30,000回迄緩み脱落なし |
| №2 | 脱落無 | 上限 30,000回迄緩み脱落なし | ||
| 平均 | 脱落無 | 上限 30,000回迄緩み脱落なし |

サイズ.M16、材質めっき.SS400相当 溶融亜鉛メッキ、締付トルク.75N·m
ボルトに対して直角方向加振、振動回数、上限30,000回

| 試験条件 | 試験結果 | |||||
|---|---|---|---|---|---|---|
| 項目 | 品種 | 締付トルク | No | 脱落時回数 | 試験終了時 ナット冶具の隙間 |
緩み脱落有無 |
| 緩み防止性能確認 | A社ロックナット | 60N·m | No1 | 8,353回 | - | - |
| No2 | 11,699回 | - | - | |||
| 平均 | 10,026回 | |||||
| B社緩み止めナット | 60N·m | No1 | 11,502回 | - | - | |
| No2 | 14,552回 | - | - | |||
| 平均 | 13,027回 | |||||
| LOCK ONE | 60N·m | No1 | 脱落なし | 0mm | 緩み脱落なし | |
| No2 | 脱落なし | 0mm | 緩み脱落なし | |||
| 平均 | - | 0mm | ||||
| 脱落防止性能確認 | A社ロックナット | 0N·m | No1 | 662回 | - | - |
| No2 | 660回 | - | - | |||
| 平均 | 611回 | |||||
| B社緩み止めナット | 0N·m | No1 | 9,655回 | - | - | |
| No2 | 8,691回 | - | - | |||
| 平均 | 9,173回 | |||||
| LOCK ONE | 0N·m | No1 | 脱落なし | 0.5mm | 脱落なし | |
| No2 | 脱落なし | 0.1mm | 脱落なし | |||
| 平均 | - | 0.3mm | ||||

振動試験の詳細を閉じる
ボルトのねじに対して、軸方向と半径方向の二方向の緊縮力がスプリングの全長に渡って作用し、強固に緊締されます。





※3山分以上のボルトの余長部に取付けて下さい。




※3山分以上のボルトの余長部に取付けて下さい。

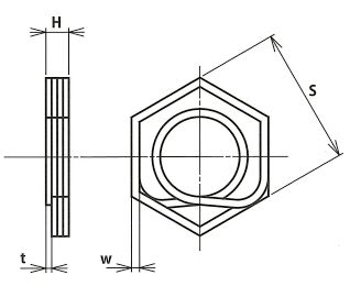
| 呼び | 対辺(S) | 角線(W×t) | 高さ(約H) | ピッチ(P) |
|---|---|---|---|---|
| M4 | 7 | 0.50×0.35 | 1.40 | 0.70 |
| M5 | 8 | 0.60×0.40 | 1.60 | 0.80 |
| M6 | 10 | 0.70×0.50 | 2.00 | 1.00 |
| M8 | 13 | 0.88×0.63 | 2.50 | 1.25 |
| M10 | 17 | 1.05×0.75 | 3.00 | 1.50 |
| W3/8 | 17 | 1.05×0.75 | 3.00 | 1.59 |
| M12 | 19 | 1.23×0.88 | 3.50 | 1.75 |
| W1/2 | 21 | 1.40×1.00 | 4.40 | 2.12 |
| M16 | 24 | 1.40×1.00 | 4.00 | 2.00 |
| M20 | 30 | 1.75×1.25 | 5.00 | 2.50 |
| M22 | 32 | 1.75×1.25 | 5.00 | 2.50 |
| M24 | 36 | 2.10×1.50 | 6.00 | 3.00 |